蒸壓加氣混凝土條板不僅可以用于外墻,還可以用于內墻。蒸壓加氣混凝土條板在用做內墻板時,為了實現室內看著美觀、使用安全、住著舒服的效果。在進行裝修時,開關、插座、線管、線盒在安裝時都采用安裝的方式,它們應該怎么安裝呢?
一、蒸壓加氣混凝土條板安裝開關、插座、線盒的方法
在安裝開關、插座、線盒時,首先依據暗盒尺寸,使用專用工具開孔洞;其次,連接電線后安裝暗盒;再其次,用砂漿把孔洞內暗盒外側填平;再其次,暗盒周邊使用粘接劑粘貼耐堿網格布,然后做飾面;最后,等飾面層達到設計強度后安裝面板。到此,整個安裝完畢。

蒸壓加氣混凝土條板開關、插座、線盒安裝詳圖
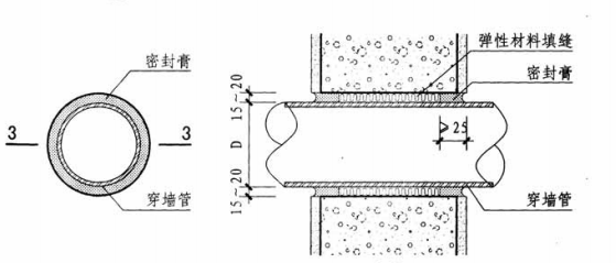
二、蒸壓加氣混凝土條板暗管、穿墻管安裝方法
在暗管、穿墻管安裝時,首先, 根據暗管尺寸,使用專用開槽工具在蒸壓加氣混凝土條板墻上開槽,然后安裝管線。管線安裝后,在管線槽內用聚合物砂漿填平,用管卡將管線與墻體固定牢固,在槽口外表面用粘接砂漿粘貼耐堿網格布后做飾面層。到此,暗管、穿墻管安裝完畢,

蒸壓加氣混凝土條板暗管做法詳圖

蒸壓加氣混凝土條板穿墻管做法詳圖
相關知識:《輕質條板隔墻開槽要求及開槽注意事項》
本文地址:http://www.desiccant.net.cn/shigonggongyi/298.html
上一篇:加氣混凝土條板墻衛生間防水高度是多少
下一篇:ACC蒸壓輕質加氣混凝土板耐堿網格布標準
